SANITARY STAINLESS STEEL
FULL FLOW BALL VALVES

Bore sizes same as Tube I. D. for completely self draining.
Valves may be installed in any position.
240 Grit, highly polished internals keep material flowing.
Teflon encapsulated seats maintain sanitary environment.
Easy" in line " serving allows valve ends to remain attached while servicing
    valve body.
Minimal turbulence-maximum flow through.
Size range from 1/2" to 4"
Connections: butt weld (plain), Clamp, other connection available upon inquiry.


Size 1/2 3/4 1 1-1/2 2 2-1/2 3 4
A .370 .620 .870 1.370 1.870 2.370 2.870 3.834
B .370 .620 .870 1.370 1.870 2.370 2.870 3.834
B1 1.000 1.000 1.984 1.984 2.515 3.050 3.579 4.682
F 3.500 4.000 4.500 5.500 6.250 7.775 9.000 9.50
H 2.050 2.280 2.440 3.860 4.090 5.550 6.100 6.890
L 3.940 5.200 5.200 6.890 6.890 10.240 10.240 11.420


TECHNICAL DATA
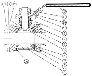
ITEM PART NAME MATERIAL QTY
1 BODY 316 1
2 CAP 316 2
3 SEAT PTFE 2
4 BALL 316 1
5 STEM 316 1
6 THRUST WASHER PTFE 1
7 STEM PACKING PTFE 2
8 PACKING GLAND 304 1
9 LOCKING HANDLE 304 1
10 HANDLE LOCK
WASHER
304 1
11 HANDLE NUT
304 1
12 HANDLE COVER
PLASTIC 1
13 BOLT
304 4
14 HEX NUT
304 4
15 LOCK WASHER 304 4

Pressure/Temperature Ratings for Ball Valves Minimum Torque Required to Activate Ball Valves
Size Tube O.D. Torque (in-lb)
1/2 86
3/4 103
1 130
1-1/2 240
2 280
2-1/2 450
3 650
4 950

SEAT MATERIAL PROPERTIES
Property TEFLON
Temperature Range -40 to 450oF
Acid Resistance Excellent
Alkali Resistance Excellent
Petroleum Oil Resistance Excellent
Vegetable Oil Resistance Excellent
Abrasion Resistance Excellent
Compression Set Cold Flows
AIR REQUIREMENTS FOR
BALL VALVE ACTUATORS
Size TUBE O.D. Air Pressure (psig) Air Consumption at 80 psig (cu in)
Spring Retum Double Acting
1/2 60-90 50 50
3/4 60-90 100 50
1 60-90 100 50
1-1/2 60-90 100 100
2 60-90 220 100
2-1/2 60-90 360 220
3 60-90 360 360
4 60-90 600 360


Home Back Next Specifications

Address : 7F, 61, Da-Chih Street, Pan-Chiao City, Taipei, Taiwan
Telephone : 886-2-2969-5711
Fax : 886-2-2966-2460
Email :dragon@watertec.com

WaterTec Home